
Ang AD5328BRU ay isang 12 bit digital to analog converter na nagbibigay ng walong independent voltage output channels sa loob ng isang surface mount device.Kino-convert nito ang digital input data sa stable na analog level na angkop para sa mga system na nangangailangan ng coordinated multi channel control.Ang bawat output ay panloob na buffered, na sumusuporta sa direktang koneksyon sa mga panlabas na circuit na walang idinagdag na mga bahagi.Ang aparato ay nakikipag-usap sa pamamagitan ng isang serial interface, na nagpapahintulot sa simpleng pagsasama sa digital control logic.Kasama sa mga karaniwang gamit ang pagsasaayos ng signal, setting ng boltahe, at kontrol ng maraming channel sa kagamitan sa pagsukat at automation.Naghahanap ng AD5328BRU?Makipag-ugnayan sa amin upang suriin ang kasalukuyang stock, oras ng pag-lead, at pagpepresyo.

| Numero ng Pin | Pangalan ng Pin | Paglalarawan |
| 1 | LDAC | Aktibong mababang kontrol na naglilipat ng data ng rehistro ng input sa mga rehistro ng DAC |
| 2 | SYNC | Aktibong low frame sync para sa serial data transfer |
| 3 | VDD | Power supply input, 2.5 V hanggang 5.5 V |
| 4 | VOUTA | Naka-buffer na analog na output mula sa DAC A |
| 5 | VOUTB | Naka-buffer na analog na output mula sa DAC B |
| 6 | VOUTC | Naka-buffer na analog na output mula sa DAC C |
| 7 | VOUTD | Naka-buffer na analog na output mula sa DAC D |
| 8 | VREFABCD | Reference input para sa DAC channels A hanggang D |
| 9 | VREFEFGH | Reference input para sa DAC channels E hanggang H |
| 10 | BUMOTO | Naka-buffer na analog na output mula sa DAC E |
| 11 | VOUTF | Naka-buffer na analog na output mula sa DAC F |
| 12 | VOUTG | Naka-buffer na analog na output mula sa DAC G |
| 13 | VOUTH | Buffered analog output mula sa DAC H |
| 14 | GND | Ground reference para sa device |
| 15 | DIN | Serial na data input |
| 16 | SCLK | Pag-input ng serial clock |



Nagbibigay ang device ng 12 bit na resolution, na gumagawa ng 4096 natatanging antas ng output.Ang resolution na ito ay nagbibigay-daan sa tumpak na pagsasaayos ng mga boltahe ng output, pagsuporta sa mga application na nangangailangan ng maayos na kontrol at pare-parehong mga hakbang ng signal sa buong saklaw ng output.
Walong hiwalay na DAC channel ang isinama sa iisang device.Ang bawat channel ay gumagana nang nakapag-iisa, na nagpapahintulot sa maramihang mga output ng boltahe na makontrol nang sabay-sabay nang walang pakikipag-ugnayan, na nagpapasimple sa disenyo ng multi channel system.
Ang bawat output ay may kasamang panloob na yugto ng buffer.Ang buffering na ito ay nagbibigay-daan sa output na direktang magmaneho ng mga panlabas na circuit habang pinapanatili ang matatag na antas ng boltahe, na binabawasan ang pangangailangan para sa mga karagdagang panlabas na bahagi.
Ang output boltahe ay tumira sa huling halaga nito sa humigit-kumulang 10 microseconds.Sinusuportahan ng oras ng pagtugon na ito ang mga system na nangangailangan ng napapanahong pag-update ng boltahe nang walang mahabang pagkaantala sa pagitan ng mga pagbabago ng code.
Gumagamit ang device ng serial interface na umaayon sa mga karaniwang digital control protocol.Ginagawa nitong angkop para sa koneksyon sa isang malawak na hanay ng digital control logic gamit ang minimal na linya ng signal.
Ang isang panlabas na reference input ay ibinigay upang tukuyin ang buong sukat na hanay ng output.Nagbibigay-daan ito sa output span na maisaayos upang tumugma sa mga partikular na kinakailangan sa boltahe ng system.
Parehong gumagana ang analog at digital na mga seksyon mula sa mga supply voltage sa pagitan ng 2.5 volts at 5.5 volts.Sinusuportahan ng flexibility na ito ang paggamit sa mga low voltage system at mixed supply environment.
Ang panloob na string based na istraktura ng conversion ay sumusuporta sa monotonikong pag-uugali ng output at binabawasan ang mga abala sa output sa panahon ng mga paglilipat ng code, na tumutulong na mapanatili ang maayos at mahuhulaan na mga pagbabago sa boltahe.
| Katangian ng Produkto | Halaga ng Katangian |
| Manufacturer | Analog Devices, Inc. |
| Boltahe - Supply, Digital | 2.5V ~ 5.5V |
| Boltahe - Supply, Analog | 2.5V ~ 5.5V |
| Package ng Supplier ng Device | 16-TSSOP |
| Oras ng Pag-aayos | 10µs |
| Uri ng Sanggunian | Panlabas |
| Package / Case | 16-TSSOP (0.173", 4.40mm Lapad) |
| Package | tubo |
| Uri ng Output | Boltahe - Naka-buffer |
| Operating Temperatura | -40°C ~ 125°C |
| Bilang ng mga D/A Converter | 8 |
| Bilang ng mga Bit | 12 |
| Uri ng Pag-mount | Ibabaw na Mount |
| INL/DNL (LSB) | ±2, ±0.2 |
| Differential Output | Hindi |
| Interface ng Data | SPI, DSP |
| Arkitektura | String DAC |
| Batayang Numero ng Produkto | AD5328 |
| Moisture Sensitivity Level (MSL) | 1 (Walang limitasyon) |
| ECCN | EAR99 |
| HTSUS | 8542.39.0001 |

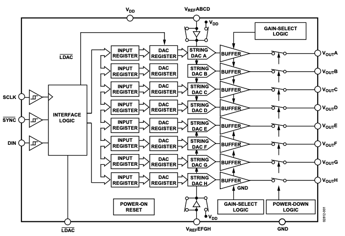
Ang panloob na istraktura ay nakaayos sa paligid ng walong magkaparehong DAC channel na may label na A hanggang H, bawat isa ay binuo mula sa isang input register, DAC register, resistor string core, at output buffer upang makabuo ng mga independiyenteng analog na boltahe.Ang digital control ay pumapasok sa pamamagitan ng serial interface gamit ang DIN, SCLK, SYNC, at LDAC signal, na namamahala sa paglo-load ng data at nagrerehistro ng mga update sa lahat ng channel.Dalawang reference input, VREFABCD at VREFEFGH, nagbibigay ng programmable full scale na antas para sa magkahiwalay na grupo ng channel, habang ang gain select logic ay tumutukoy sa output scaling.Ang power on reset at power down na logic ay namamahala sa pag-uugali ng startup at hindi pagpapagana ng channel, at ang mga buffered na output na VOUTA hanggang VOUTH ay nagbibigay ng mga output ng mababang impedance na boltahe na naka-reference sa VDD at GND.

Ang pagsasaayos ng circuit ay nagpapakita ng AD5328BRU na gumagana na may panlabas na sanggunian ng boltahe at isang solong supply mula 2.5 V hanggang 5.5 V. Ang reference na pinagmulan ay konektado sa mga VREFABCD at VREFEFGH na mga pin at na-decoupled sa isang lokal na kapasitor upang matiyak ang matatag na reference input para sa lahat ng DAC channel.Ang supply decoupling ay ipinapatupad gamit ang parallel na 0.1 µF at 10 µF capacitor na konektado sa pagitan ng VDD at ground para mabawasan ang ingay.Gumagamit ang serial interface ng mga linya ng SCLK, DIN, at SYNC para mag-load ng digital data, habang ang mga buffered na output na VOUTA hanggang VOUTH ay nagbibigay ng mga independiyenteng analog na boltahe na naka-reference sa panlabas na pinagmulan.
Ang AD5328BRU ay ginagamit upang bumuo ng mga boltahe ng kontrol para sa mga actuator, valve, at control loop sa mga automated system.Ang maramihang mga channel ng output nito ay nagbibigay-daan sa ilang mga variable ng proseso na i-adjust mula sa isang device, na sumusuporta sa coordinated at repeatable control sa factory at plant environment.
Sa mga data acquisition system, ang device ay nagbibigay ng programmable reference at calibration voltages sa maraming channel.Sinusuportahan nito ang mga gawain sa pag-conditioning ng signal kung saan kailangan ang pare-pareho at adjustable na mga antas ng analog kasama ng mga digital measurement circuit.
Ang aparato ay angkop para sa pagtatakda ng mga antas ng output sa mga programmable power supply at bias circuits.Ang kakayahang gumawa ng mga matatag na boltahe sa ilang mga channel ay nagbibigay-daan sa iba't ibang mga bias point na makontrol nang nakapag-iisa sa loob ng parehong sistema.
Sa audio at pangkalahatang mga application ng kontrol ng signal, inaayos ng AD5328BRU ang mga antas ng gain, offset, at reference na boltahe.Ang mga makinis na paglipat ng output ay nakakatulong na mapanatili ang mga kontroladong pagbabago sa antas nang walang mga biglaang hakbang sa panahon ng pagsasaayos.
Ginagamit ng mga portable na instrumento ang device upang pamahalaan ang mga reference na boltahe at adjustable na antas ng output habang tumatakbo mula sa mababang supply ng boltahe.Nakakatulong ang pagsasama nito na bawasan ang laki ng circuit, na sumusuporta sa mga compact at power aware na disenyo.
Inilapat ang device sa mga setup ng komunikasyon at pagsubok upang makabuo ng mga programmable na antas ng boltahe para sa pag-tune, kontrol ng offset, at simulation ng signal.Ang maramihang mga output ay nagbibigay-daan sa iba't ibang mga punto ng pagsubok na himukin sa ilalim ng coordinated digital control.

Tinutukoy ng mekanikal na pagguhit ang pisikal na sukat at layout ng 16 lead surface mount package, na nagpapakita ng nominal na lapad ng katawan at haba na humigit-kumulang 5.00 mm na may mga pinapayagang tolerance.Ang pagnumero ng pin ay ipinahiwatig mula sa pin 1 hanggang pin 16 upang maitaguyod ang tamang oryentasyon sa panahon ng pagpupulong.Ang lead pitch ay tinukoy sa 0.65 mm na may kontroladong coplanarity upang matiyak ang wastong solder contact sa seating plane.Ang maximum na taas ng package ay limitado sa humigit-kumulang 1.20 mm, at ang mga side view ng profile ay nagpapahiwatig ng mga lead bend na anggulo at standoff na mga dimensyon na sumusuporta sa maaasahang pag-mount sa mga naka-print na circuit board.
• Sinusuportahan ng walong output channel ang mga compact na multi output na disenyo
• Ang mga buffered na output ay nagbibigay-daan sa direktang koneksyon sa mga panlabas na circuit
• Ang malawak na hanay ng boltahe ng supply ay umaangkop sa mababang boltahe at karaniwang mga sistema
• Ang nahuhulaang pag-uugali ng output ay sumusuporta sa matatag na kontrol ng boltahe
• Binabawasan ng pinagsamang disenyo ang kabuuang bilang ng bahagi
• Nililimitahan ng 12 bit na resolusyon ang napakahusay na pagsasaayos ng boltahe
• Ang bilis ng pag-aayos ng output ay katamtaman sa halip na mabilis
• Ang panlabas na reference input ay nagdaragdag ng karagdagang hakbang sa disenyo
• Nililimitahan ng serial interface ang rate ng pag-update sa ilang system
| Numero ng Bahagi | Manufacturer | Mga Pangunahing Tampok | Gamitin ang Case/Notes |
| AD5328BRUZ-REEL7 | Analog Devices Inc. | 12-bit octal DAC na may buffered voltage output, SPI-compatible interface, mababang power operation, at suporta para sa external reference.Ibinibigay sa tape at reel para sa awtomatikong pagpupulong. | Idinisenyo para sa produksyon na may mataas na volume kung saan kailangan ang maraming tumpak na analog na output sa mga compact, surface-mount na disenyo. |
| AD5328BRUZ | Analog Devices Inc. | Parehong 12-bit na resolution at walong buffered na boltahe na output, suporta sa interface ng SPI/DSP, at malawak na hanay ng boltahe ng supply sa tube packaging. | Angkop para sa prototyping, pagsubok, o low-volume production kung saan mas gusto ang manual handling. |
| AD5328BRUZ-REEL | Analog Devices Inc. | Magkaparehong pagganap ng kuryente sa bersyon ng tube, na nagtatampok ng eight-channel na 12-bit na arkitektura ng DAC na may mga buffered na output at serial control. | Tamang-tama para sa mga awtomatikong proseso ng pagpupulong ng PCB sa mga pang-industriya, instrumentasyon, at naka-embed na mga application ng kontrol. |
Ang Analog Devices, Inc. ay isang pandaigdigang kumpanya ng teknolohiya na kilala sa pagbuo ng analog, mixed signal, at digital signal processing solutions.Naghahain ang kumpanya ng malawak na hanay ng mga merkado, kabilang ang mga sistemang pang-industriya, komunikasyon, pangangalaga sa kalusugan, sasakyan, at instrumentasyon.Kasama sa portfolio ng produkto nito ang mga data converter, amplifier, power management device, sensor, at mga bahagi sa pagpoproseso ng signal na sumusuporta sa tumpak na pagsukat at kontrol.Ang Mga Analog na Device ay nagbibigay ng matinding diin sa mahabang mga lifecycle ng produkto, pagganap sa antas ng system, at pagkakapare-pareho sa mga pamilya ng produkto, na tumutulong sa mga designer na bumuo ng mga mapagkakatiwalaang platform na maaaring mapanatili at ma-scale sa paglipas ng panahon.
Ang AD5328BRU ay nagbibigay sa iyo ng isang simpleng paraan upang pamahalaan ang maramihang mga output ng boltahe mula sa isang compact device.Ang 12-bit na resolution nito ay nag-aalok ng maayos na kontrol, habang ang walong buffered channel ay nakakatulong na mabawasan ang sobrang circuitry.Ang serial interface ay nagpapanatili ng mga koneksyon na minimal at madaling pangasiwaan.Sa nababaluktot na mga opsyon sa supply at reference, kumportable itong umaangkop sa maraming system.Makikinabang ka rin sa predictable na pag-uugali ng output na sumusuporta sa stable na operasyon.Sa pangkalahatan, isa itong praktikal na pagpipilian kapag gusto mo ng malinis, multi-channel na analog na kontrol nang walang karagdagang kumplikado.
Mangyaring magpadala ng isang pagtatanong, tutugon kami kaagad.
Kino-convert nito ang digital data sa mga analog na boltahe sa walong hiwalay na mga channel ng output.
Nagbibigay ito ng walong independiyenteng buffered voltage output na may label na A hanggang H.
Nag-aalok ang device ng 12-bit na resolution, na nagbibigay ng 4096 na posibleng antas ng output.
Oo, gumagamit ito ng mga panlabas na reference input upang tukuyin ang buong-scale na hanay ng output.
Madalas itong ginagamit sa automation, pagsukat, kontrol ng signal, at mga programmable na application ng boltahe.
sa 2025/12/23
sa 2025/12/23
sa 8000/04/19 147781
sa 2000/04/19 112062
sa 1600/04/19 111352
sa 0400/04/19 83818
sa 1970/01/1 79633
sa 1970/01/1 66999
sa 1970/01/1 63124
sa 1970/01/1 63058
sa 1970/01/1 54097
sa 1970/01/1 52208