
Ang TMS320C6421ZWT5 ay isang mataas na pagganap na digital signal processor (DSP) na binuo ng mga instrumento sa Texas bilang bahagi ng pamilyang TMS320C64X+.Itinayo sa Velociti.2 VLIW Architecture, ang aparatong ito ay naghahatid ng malakas na pagganap ng pagproseso ng nakapirming point na idinisenyo para sa masinsinang paghawak ng signal sa mga modernong naka-embed na system.Sa mga bilis ng orasan na umaabot hanggang sa 500 MHz, may kakayahang magsagawa ng maraming mga tagubilin sa bawat pag -ikot, na ginagawang angkop para sa isang malawak na hanay ng mga advanced na gawain sa pagproseso.Nabibilang sa mas malawak na platform ng TMS320C6000 DSP, ang serye ng C6421 ay nagdadala ng pasulong na Texas Instruments 'na nakatuon sa scalable at mga solusyon na katugma sa code.Bilang bahagi ng isang napatunayan na pamilya ng mga processors na pinagkakatiwalaan sa buong mundo, ang TMS320C6421ZWT5 ay nag-aalok ng isang maaasahang pundasyon para sa mga pangmatagalang disenyo.
Naghahanap ng TMS320C6421ZWT5?Makipag -ugnay sa amin upang suriin ang kasalukuyang stock, oras ng tingga, at pagpepresyo.

TMS320C6421ZWT5 simbolo

TMS320C6421ZWT5 Footprint

TMS320C6421ZWT5 3D Model
At Mataas na pagganap ng DSP Core
Ang aparato ay pinalakas ng velociti.2 ™ vLIW core, na may kakayahang magsagawa ng hanggang walong mga tagubilin sa isang solong pag -ikot.Ang arkitektura na ito ay nagbibigay -daan sa napakataas na throughput, na ginagawang perpekto para sa mga kumplikadong gawain sa pagproseso ng signal.
At Mahusay na multiplier at alus
Isinasama nito ang anim na aritmetika na mga yunit ng lohika (ALU) at dalawang makapangyarihang multiplier, na maaaring hawakan ang maraming mga operasyon nang sabay -sabay.Sinusuportahan ng disenyo na ito ang masinsinang mga operasyon sa matematika tulad ng pag -filter, modulation, at pag -encode.
At Nababaluktot na memorya ng on-chip
Kasama sa processor ang 16 kb program cache, 48 kb data cache, at 64 kb ng pinag -isang memorya ng L2.Ang mga panloob na mapagkukunan na ito ay nagbabawas ng latency at sumusuporta sa mas mabilis na pagpapatupad ng mga aplikasyon.
At Mga interface ng DDR2 at Flash Memory
Nagtatampok ang chip ng isang 16-bit DDR2 SDRAM controller at isang 8-bit asynchronous EMIF para sa panlabas na memorya tulad ng NOR at NAND flash.Ang kakayahang umangkop na ito ay nagbibigay -daan upang mapalawak ang memorya para sa mas malaking mga aplikasyon.
At Suporta sa Peripheral na Peripheral
Nagbibigay ito ng isang malawak na hanay ng mga interface kabilang ang UART, I²C, MCBSP, MCASP na may SPDIF, at isang 16-bit host port interface.Ginagawa nito ang processor na lubos na madaling iakma para sa telecom, audio, at pang -industriya na sistema.
At Pinahusay na DMA Controller (EDMA)
Ang isang 64-channel na pinahusay na DMA controller ay sumusuporta sa mabilis na paglipat ng data sa pagitan ng memorya at peripheral.Binabawasan nito ang pag -load ng CPU at nagpapabuti sa pangkalahatang pagganap ng system.
At Networking at koneksyon
Ang chip ay nagsasama ng isang 10/100 Ethernet MAC na may suporta sa MII/RMII at isang interface ng VLYNQ para sa panlabas na koneksyon.Ang mga tampok na ito ay ginagawang angkop para sa mga naka-embed na application na naka-embed sa network.
At Mayaman na pangkalahatang layunin i/o
Na may hanggang sa 111 na maraming mga GPIO pin at tatlong mga output ng PWM, ang DSP ay nag -aalok ng mahusay na kakayahang umangkop para sa control ng system at pasadyang interface.Tinitiyak nito ang madaling pagsasama sa isang malawak na hanay ng mga disenyo ng hardware.
At Mababang operasyon ng boltahe
Nagpapatakbo ito ng isang pangunahing boltahe ng 1.05 V o 1.2 V at I/O na antas ng 1.8 V o 3.3 V. Ang balanse ng kahusayan at kakayahang umangkop na ito ay ginagawang maaasahan para sa mga naka -embed na disenyo.

Ang TMS320C6421ZWT5 functional block diagram ay nagha -highlight kung paano pinagsama ng processor ang core, memorya, at peripheral na magtulungan.Sa gitna ay ang C64x+ DSP CPU na may L1 at L2 Memory Plus Boot ROM, na nagsisiguro ng mabilis na pag -access ng data at mabilis na pagsisimula.Ang mga bloke ng control ng system tulad ng mga oscillator, PLL, at pamamahala ng kapangyarihan ay humahawak ng henerasyon ng orasan, mga mode ng mababang lakas, at pag-ruta ng signal.
Ang lahat ng mga bahagi ay naka -link sa pamamagitan ng nakabukas na sentral na mapagkukunan (SCR), na kumikilos tulad ng pangunahing bus para sa daloy ng data.Kasama sa processor ang mga serial interface tulad ng UART, I²C, MCBSP, at MCASP, na suportado ng isang malakas na controller ng EDMA para sa mga paglilipat ng data ng high-speed.Nagtatampok din ito ng mga timer, function ng tagapagbantay, PWM, at GPIO para sa pangkalahatang kontrol ng system.
Para sa pagkakakonekta, ang aparato ay nag -aalok ng Ethernet Mac na may MDIO, VLYNQ, at isang host port interface, na ginagawang kakayahang umangkop para sa networking at panlabas na komunikasyon.Ang pagpapalawak ng memorya ay suportado sa pamamagitan ng isang DDR2 memory controller at isang asynchronous EMIF para sa NAND o NOR flash.Sama -sama, ang mga bloke na ito ay nagpapakita kung paano binuo ang chip upang mahawakan ang masinsinang pagproseso na may mahusay na mga pagpipilian sa memorya at malawak na koneksyon.

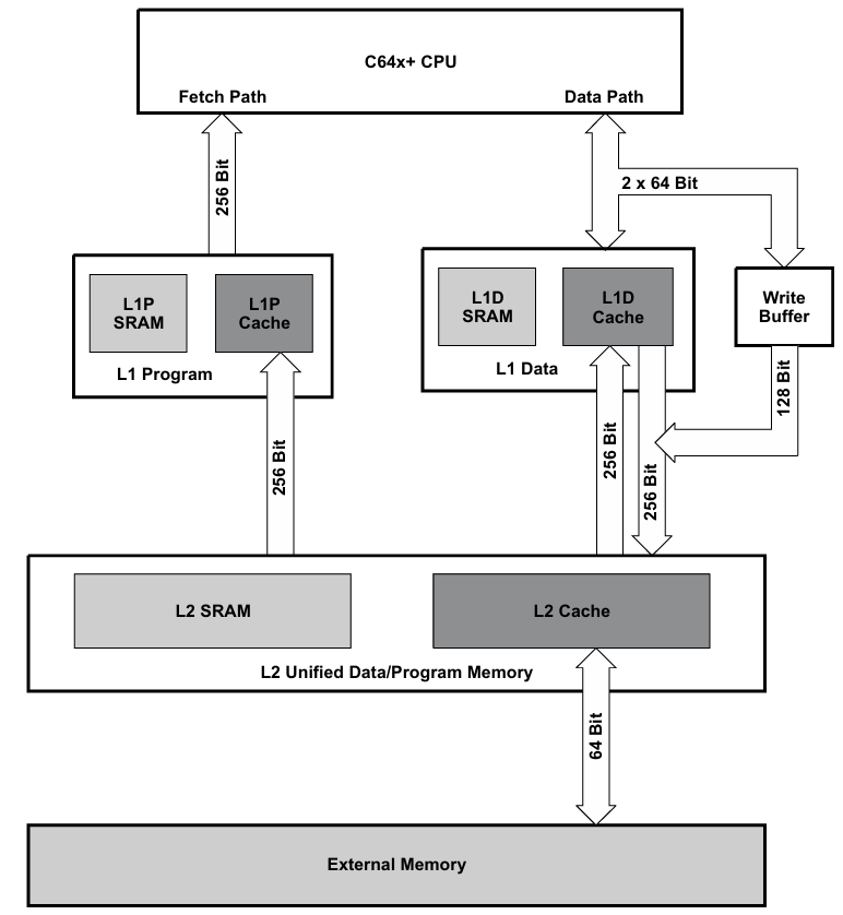
Ang arkitektura ng memorya ng C64X+ cache sa TMS320C6421ZWT5 ay binuo upang mabigyan ang mabilis na pag -access ng CPU sa mga tagubilin at data.Nagsisimula ito sa memorya ng L1, na nahati sa dalawang bahagi: L1 Program (L1P) para sa mga tagubilin at data ng L1 (L1D) para sa data.Parehong kasama ang SRAM at cache, na konektado sa CPU na may malawak na 256-bit na mga landas para sa mga paglilipat ng high-speed.
Sa likod nito, ang memorya ng L2 ay gumagana bilang isang mas malaki, pinag -isang puwang para sa parehong data at programa.Mayroon itong SRAM at cache, at kumokonekta sa panlabas na memorya sa pamamagitan ng isang 64-bit na bus.Ang isang sumulat ng buffer ay tumutulong sa bilis ng pag -iimbak ng data sa pamamagitan ng paghawak ng mga nakasulat sa background.Ang layered na disenyo na ito ay patuloy na gumagamit ng data na malapit sa CPU habang pinapayagan pa rin ang pag -access sa mas malaking panlabas na memorya kung kinakailangan.

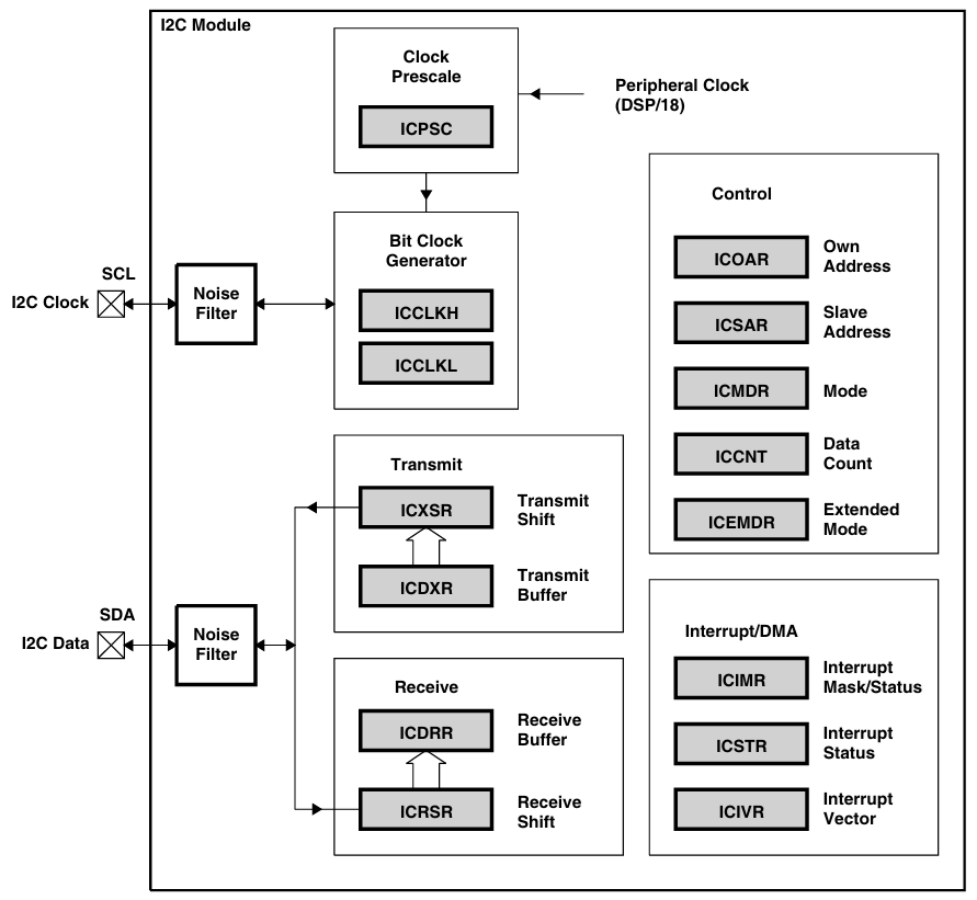
Ang module ng I²C sa TMS320C6421ZWT5 ay kumokontrol sa komunikasyon sa pamamagitan ng dalawang linya ng I²C, SCL para sa orasan at SDA para sa data.Ang parehong mga signal ay dumadaan sa mga filter ng ingay upang mapanatiling matatag ang paglipat.Ang isang orasan prescaler at bit clock generator ay nagtakda ng tamang bilis para sa komunikasyon.
Ang module ay may magkahiwalay na mga landas para sa pagpapadala at pagtanggap ng data.Ang transmit block ay humahawak ng data sa isang buffer bago ipadala ito, habang ang mga natanggap na block ay nag -iimbak ng mga papasok na data bago maipasa ito sa CPU.Ang isang control unit ay namamahala ng mga address, mode, at mga bilang ng data upang ang aparato ay maaaring gumana bilang alinman sa master o alipin.
Kasama rin dito ang Interrupt at DMA Support, na makakatulong na hawakan ang mga paglilipat ng data nang awtomatiko nang hindi nangangailangan ng CPU upang patuloy na suriin.Ginagawa nitong maaasahan at mahusay ang interface ng I²C para sa pagkonekta sa DSP sa mga panlabas na aparato.
|
I -type |
Parameter |
|
Tagagawa |
Mga instrumento sa Texas |
|
Serye |
TMS320C642X |
|
Packaging |
Tray |
|
Bahagi ng Bahagi |
Aktibo |
|
I -type |
Nakapirming punto |
|
Interface |
HPI, I2C, MCASP, MCBSP, UART, 10/100 Ethernet Mac |
|
Rate ng orasan |
500 MHz |
|
Memorya ng hindi pabagu-bago |
Rom (64 KB) |
|
On-chip ram |
96 KB |
|
Boltahe - I/O. |
1.8 V, 3.3 v |
|
Boltahe - Core |
1.05 V, 1.20 v |
|
Temperatura ng pagpapatakbo |
0 ° C ~ 90 ° C (TJ) |
|
Uri ng pag -mount |
Surface Mount |
|
Package / Kaso |
361-lfbga |
|
Package ng aparato ng supplier |
361-NFBGA (16 × 16) |
|
Base Number Product |
TMS320 |
1. Telecom at Wireless Systems
Ang TMS320C6421ZWT5 ay malawakang ginagamit sa imprastraktura ng telecom at mga wireless na aparato dahil sa lakas ng pagproseso ng high-speed signal.Pinangangasiwaan nito ang mga gawain tulad ng modulation, demodulation, at channel coding, na mabuti sa mga istasyon ng base, gateway, at kagamitan sa broadband.Sa pamamagitan ng pinagsamang suporta ng Ethernet MAC at DDR2, nagbibigay ito ng parehong koneksyon at ang memorya ng bandwidth na kinakailangan para sa komunikasyon.
2. Pagproseso ng Audio at Signal
Ang DSP na ito ay angkop para sa mga audio system na nangangailangan ng pagkalkula ng mataas na pagganap at pagproseso ng mababang-latency.Maaari itong magpatakbo ng mga multichannel voice codec, magsagawa ng pagkansela ng ingay, at hawakan ang mga audio effects sa oras.Ang mga interface tulad ng MCBSP at MCASP ay ginagawang madali upang kumonekta sa mga kagamitan sa audio, tinitiyak ang maaasahan at de-kalidad na pagganap ng tunog.
3. Imaging at mga application ng video
Ang C6421 ay maaari ring mailapat sa mga gawain sa imaging at video na humihiling ng mabilis na pagproseso ng data.Pinapayagan nito ang DSP core na suportahan ang compression, decompression, at pagpapahusay ng mga function para sa mga camera, mga sistema ng pagsubaybay, at mga naka -embed na aparato sa paningin.Sa pamamagitan ng pag -agaw ng mga kahanay na kakayahan sa pagpapatupad nito, nagbibigay -daan ito ng mahusay na paghawak ng mga stream ng imahe at video.
4. Pang -industriya at naka -embed na kontrol
Sa automation ng pang -industriya at opisina, ang aparato ay pinahahalagahan para sa pagsasama ng mga timers, GPIOS, PWM, at DMA, na nagbibigay ng mahigpit na kontrol sa system.Ginagamit ito sa mga application tulad ng mga printer, scanner, motor controller, at naka -embed na mga yunit ng automation.Ang mahusay na mga mode ng kuryente at tulong sa pagproseso ng high-speed na maihatid ang maaasahang pagganap habang pinapanatiling mababa ang pagkonsumo ng enerhiya.
|
Pagtukoy |
TMS320C6421ZWT5 |
TMS320C6421ZDU5 |
TMS320C6421ZDU4 |
TMS320C6421ZWTQ5 |
TMS320C6424 |
|
Pangunahing arkitektura |
C64x+ Velociti.2 VLIW DSP |
C64x+ Velociti.2 VLIW DSP |
C64x+ Velociti.2 VLIW DSP |
C64x+ Velociti.2 VLIW DSP |
C64x+ Velociti.2 VLIW DSP |
|
Bilis ng orasan |
500 MHz |
500 MHz |
600 MHz |
500 MHz |
Hanggang sa 720 MHz (mas mataas na tier) |
|
Pagganap (MIPS) |
~ 4,000 sa 500 MHz |
~ 4,000 sa 500 MHz |
~ 4,800 sa 600 MHz |
~ 4,000 sa 500 MHz |
Mas mataas, hanggang sa ~ 8,000 mips |
|
Memorya ng on-chip |
L1P 16 KB, L1D 48 KB, L2 64 KB |
L1P 16 KB, L1D 48 KB, L2 64 KB |
L1P 16 KB, L1D 48 KB, L2 64 KB |
L1P 16 KB, L1D 48 KB, L2 64 KB |
Magagamit ang mas malaking pagpipilian sa L2 |
|
Laki ng rom |
64 KB Boot Rom |
64 KB Boot Rom |
64 KB Boot Rom |
64 KB Boot Rom |
64 KB Boot Rom |
|
Suporta sa Panlabas na Memory |
DDR2 (16-bit), Emifa (8-bit) |
DDR2 (16-bit), Emifa (8-bit) |
DDR2 (16-bit), Emifa (8-bit) |
DDR2 (16-bit), Emifa (8-bit) |
DDR2 (16-bit), Emifa (8-bit) |
|
Ethernet Mac |
10/100 MB/s kasama ang MDIO |
10/100 MB/s kasama ang MDIO |
10/100 MB/s kasama ang MDIO |
10/100 MB/s kasama ang MDIO |
10/100 MB/s kasama ang MDIO |
|
Temperatura ng pagpapatakbo |
0 ° C hanggang 90 ° C (komersyal) |
0 ° C hanggang 90 ° C (komersyal) |
0 ° C hanggang 90 ° C (komersyal) |
–40 ° C hanggang +125 ° C (Pang -industriya) |
0 ° C hanggang 90 ° C (komersyal) |
|
Package |
361-pin NFBGA (16 × 16 mm) |
361-pin nfbga (diff. Pagmamarka) |
361-pin nfbga |
361-pin nfbga |
361-pin nfbga |
|
Mga Aplikasyon |
Telecom, audio, naka -embed |
Telecom, audio, naka -embed |
Pagganap-kritikal na telecom |
Pang -industriya/malupit na kapaligiran |
Mas mataas na dulo ng telecom at voip |
Ang proseso ay karaniwang gumagalaw mula sa pag -set up ng kapaligiran sa pagsulat, pag -debug, at pag -deploy ng na -optimize na code ng DSP.
1. I -install ang mga tool sa pag -unlad
Ang unang hakbang ay ang pag -set up ng Code Composer Studio (CCS), pinagsama -samang kapaligiran ng pag -unlad ng TI.Nagbibigay ang software na ito ng tagatala, nagtitipon, debugger, at mga tool sa pamamahala ng proyekto na partikular na idinisenyo para sa pamilyang C6000 DSP.Kung wala ang pag -setup na ito, hindi magiging posible ang programming at pagsubok sa DSP hardware.
2. Lumikha ng isang bagong proyekto
Sa CCS, magsimula sa pamamagitan ng paglikha ng isang bagong proyekto na na -configure para sa aparato ng TMS320C6421.Kasama dito ang pagpili ng tamang mga pagpipilian sa tagatala, mga file ng command ng link, at mga template ng startup code.Tinitiyak ng tamang pag -setup ng proyekto na ang mapa ng memorya at mga mapagkukunan ng system ay nakahanay sa hardware.
3. Isulat ang application code
Ang mga aplikasyon ay maaaring isulat sa C para sa pangkalahatang lohika o sa pagpupulong para sa mga gawain sa kritikal na pagganap.Maraming sinasamantala ang arkitektura ng C64x+ VLIW, na nagbibigay -daan sa maraming mga tagubilin na isagawa nang magkatulad.Ang pag-optimize ng mga loop at paggamit ng DSP-specific intrinsics ay maaaring mapabuti ang kahusayan.
4. Mag -compile at mag -optimize
Pagkatapos ng pag -cod, ang programa ay pinagsama at tipunin sa mga tagubilin sa makina.Kasama sa tagatala ng TI ang mga tampok ng pag -optimize tulad ng software pipelining at loop na hindi makolekta upang ma -maximize ang throughput.Sa yugtong ito, tinitiyak ng programmer na ang bilis ng pagpapatupad at paggamit ng memorya ay nakakatugon sa mga kinakailangan sa aplikasyon.
5. Link at pag -load
Ang pinagsama -samang mga file ng object ay naka -link ayon sa mapa ng memorya ng aparato, paglalagay ng code at data sa tamang panloob at panlabas na mga lugar ng memorya.Kapag naka -link, ang binary ay na -load sa DSP sa pamamagitan ng debugger ng JTAG.Inihahanda nito ang system para sa pagpapatupad sa hardware.
6. Debug sa hardware
Gamit ang CCS, maaari kang magtakda ng mga breakpoints, subaybayan ang mga rehistro, at hakbang sa pamamagitan ng mga tagubilin habang tumatakbo ang DSP.Ang pag -debug sa hardware ay nagpapakita ng pag -uugali, tulad ng paggamit ng cache, pagkagambala, at paglilipat ng data.Tinitiyak ng prosesong ito ang mga pag -andar ng application nang tama sa ilalim ng aktwal na mga kondisyon ng operating.
7. Deploy at Subaybayan
Kapag kumpleto ang pagsubok, ang programa ay na -deploy para sa pagpapatupad ng standalone sa target na sistema.Maaari ka pa ring gumamit ng CCS upang masubaybayan ang pagganap, paglalaan ng memorya ng memorya, o bawasan ang pagkonsumo ng kuryente.Ang pangwakas na hakbang na ito ay nagpapatunay na ang DSP ay tumatakbo nang maaasahan at handa na para sa mga praktikal na aplikasyon.
• Mataas na nakapirming-point na pagganap ng DSP na may paralelismo ng VLIW
• Upward Code pagiging tugma sa mga mas matandang aparato ng C6000
• Ang mayaman na hanay ng mga integrated peripheral ay binabawasan ang mga panlabas na sangkap
• Malakas na ekosistema ng pag -unlad na may CCS at mga tool sa pag -optimize
• Nababaluktot na arkitektura ng cache at memorya para sa mas mabilis na paghawak ng data
• Walang dynamic na boltahe o dalas ng pag -scale para sa pag -save ng kuryente
• Mas mataas na pagkonsumo ng kuryente kumpara sa mga mababang-lakas na DSP
• Kulang sa mga built-in na tampok ng seguridad para sa ligtas na boot o proteksyon
• Hindi gaanong angkop para sa mga portable o baterya na pinapagana ng baterya
• Nakapirming profile ng pagganap na may limitadong kakayahang umangkop para sa paggamit ng mobile

|
I -type |
Parameter |
|
Uri ng Package |
NFBGA (361-Ball, ZWT) |
|
Array ng bola ng bola |
16 × 16 |
|
Bilangin ng pin |
361 |
|
Pangkalahatang Haba (L) |
17.5 mm |
|
Pangkalahatang Lapad (W) |
15.45 mm |
|
Saklaw ng laki ng katawan |
15.90 mm - 16.10 mm |
|
Ball Pitch |
0.80 mm |
|
Diameter ng bola |
0.45 mm - 0.55 mm |
|
Taas ng pakete (h) |
1.19 mm - 1.40 mm |
|
Ball Taas (Stand-Off) |
0.35 mm - 0.45 mm |
|
Pag -upo ng eroplano sa pag -upo |
± 0.12 mm |
|
Corner Index (A1) |
Minarkahang sulok ng sanggunian |
Ang TMS320C6421ZWT5 ay ginawa ng Texas Instruments (TI), isang nangungunang American semiconductor company na headquartered sa Dallas, Texas.Ang TI ay buong mundo na kilala para sa mga makabagong ideya nito sa mga teknolohiya ng pagproseso ng analog at naka -embed, na nagbibigay ng mga solusyon na nagbibigay lakas sa isang malawak na hanay ng mga industriya kabilang ang mga telecommunication, automotive, pang -industriya na automation, at electronics ng consumer.Sa mga dekada ng kadalubhasaan sa pagbuo ng mga high-performance digital signal processors, itinatag ng TI ang pamilyang TMS320 bilang isang pundasyon para sa mga aplikasyon sa pagproseso ng signal.Sinusuportahan din ng kumpanya na may komprehensibong mga tool sa disenyo, mga kapaligiran ng software, at dokumentasyon, tinitiyak ang maaasahang pagsasama ng mga produktong DSP sa mga advanced na naka -embed na system.
Ang TMS320C6421ZWT5 ay nakatayo para sa malakas na nakapirming-point na pagganap, nababaluktot na sistema ng memorya, at mayaman na koneksyon na angkop sa hinihingi na mga aplikasyon sa komunikasyon, audio, video, at automation.Ang disenyo nito ay ginagawang mahusay sa pag -unlad sa pamamagitan ng Code Composer Studio, na may mga tool para sa pag -optimize at pag -debug sa hardware.Ang processor ay nagbibigay ng mahusay na scalability, malakas na pagsasama, at malawak na suporta, kahit na ipinagpapalit nito ang ilang mga tampok na pag-save ng kapangyarihan at seguridad.Sa pangkalahatan, nag -aalok ito ng isang maaasahang balanse ng pagganap, memorya, at mga interface, na suportado ng ekosistema ng TI at napatunayan na platform ng C6000, ginagawa itong isang praktikal na pagpipilian para sa mga advanced na naka -embed na proyekto.
Mangyaring magpadala ng isang pagtatanong, tutugon kami kaagad.
Oo.Pinapanatili nito ang pataas na pagiging tugma ng code sa mga naunang aparato ng C6000, na tumutulong muli sa paggamit ng mga umiiral na proyekto at paikliin ang mga siklo ng pag -unlad.
Habang kumokonsumo ito ng higit na kapangyarihan kaysa sa mga ultra-low-power DSP, nag-aalok ito ng mas mataas na pagproseso ng throughput, mas mayamang peripheral, at mas mabilis na mga interface ng memorya, na ginagawang mas mahusay na angkop para sa mga disenyo na masinsinang pagganap.
Oo.Sa pamamagitan ng isang integrated 10/100 Ethernet MAC at VLYNQ interface, sinusuportahan ng processor ang koneksyon sa network, na nagpapagana upang gumana nang maayos sa mga komunikasyon at pagbabahagi ng data.
Oo.Ang TMS320C6421ZWT5 ay may kasamang DDR2 SDRAM controller at EMIF interface, na nagpapahintulot sa koneksyon sa NOR o NAND flash para sa mas malaking mga kinakailangan sa imbakan.
Ang VLIW core nito ay nagsasagawa ng hanggang sa walong mga tagubilin sa bawat ikot, suportado ng EDMA para sa mabilis na paglilipat ng data, na ginagawang mahusay sa paghawak ng maraming mga gawain nang sabay -sabay.
sa 2025/08/28
sa 2025/08/26
sa 8000/04/18 147778
sa 2000/04/18 112038
sa 1600/04/18 111352
sa 0400/04/18 83794
sa 1970/01/1 79602
sa 1970/01/1 66978
sa 1970/01/1 63112
sa 1970/01/1 63044
sa 1970/01/1 54097
sa 1970/01/1 52198