
Ang TIP2955 ay isang silikon epitaxial-base PNP transistor na nakalagay sa isang TO-218 package.Ang matatag na disenyo nito ay nag-aalok ng isang maraming nalalaman na solusyon sa maraming mga aplikasyon ng high-power, walang putol na umaangkop sa mga circuit-switch circuit, mga sistema ng regulasyon, at mga setting ng audio amplification.Sa mga circuit na nagpapalit ng kuryente, ang TIP2955 ay higit sa pamamagitan ng mahusay na paghawak ng kasalukuyang mga naglo-load sa mga setting na may nagbabago na mga kahilingan kung saan ang matatag na regulasyon ng kuryente ay sumusuporta sa pagiging epektibo ng system.Naghahain ang TIP2955 ng isang mahalagang pag -andar sa mga sistema ng regulasyon, na may kasanayan sa pagpapanatili ng matatag na output habang nagbabago ang mga kondisyon ng pag -input.Ang lakas nito sa mga pagkakaiba -iba ng thermal ay nagbibigay ng maaasahang kontrol sa boltahe o kasalukuyang mga regulators, na nag -aambag sa mga system na nagtitiis sa pagsubok ng oras at mga presyur sa pagpapatakbo.Ang kapasidad ng TIP2955 upang mapahusay ang mga circuit circuit ng audio ay ipinapakita sa paghahatid ng tunog na may mataas na katapatan, na may kasanayang pag -minimize ng pagbaluktot ng signal.

|
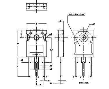
Numero ng pin |
Uri ng pin |
Paglalarawan |
| 3 |
Emitter |
Ang emitter ay para sa isang panlabas na daloy ng kasalukuyang. |
| 1 |
Base |
Ang batayan ay namamahala sa biasing ng transistor at
Kinokontrol ang estado ng transistor. |
| 2 |
Kolektor |
Pinapayagan ng kolektor para sa panloob na paggalaw ng kasalukuyang
at konektado sa pag -load. |



Ang TIP2955 ay nailalarawan sa pamamagitan ng kapansin-pansin na mababang boltahe ng saturation ng kolektor-emitter.Pinahuhusay ng ari -arian na ito ang kakayahang magamit ng aparato, pagbubukas ng mga pintuan sa mahusay na disenyo ng circuit.
Ang kakayahang ipares nang walang putol sa mga transistor ng NPN ay isang highlight, na naglalagay ng paraan para sa pagsasama sa mga dual-transistor circuit.
Ang mga aspeto na ito ay gumagawa ng TIP2955 isang angkop na pagpipilian para sa mga audio amplifier at mga circuit ng supply ng kuryente.Sa ganitong mga aplikasyon, ang pagkamit ng tumpak na kasalukuyang control control ay nagiging isang hangarin na nagkakahalaga ng pagsasagawa.
Sa pamamagitan ng paggamit ng mga pantulong na transistor sa mga setting ng mataas na kapangyarihan, ang isang tao ay maaaring makamit ang isang pagkakasundo sa pagganap, pagbabawas ng mga isyu na lumitaw sa mga pares ng mismatched.
Ang pagbagay nito sa loob ng mga kumplikadong circuit ay nagtatampok ng kakanyahan ng pag -unawa sa magkakaibang mga katangian ng transistor at ang kanilang interplay.Ang kaalamang ito ay maaaring maging susi sa pag -unlock ng buong potensyal sa masalimuot na mga disenyo ng system.
Ang TIP2955, isang multifunctional transistor, ay nagpapatakbo ng pambihirang kasanayan sa kabuuan ng isang spectrum ng pangkalahatang-layunin na mga electronic circuit.Ang walang hanggang kalikasan nito ay kapaki -pakinabang sa hinihingi na mga setting kung saan ang pare -pareho na pagganap sa paglipas ng panahon ay pinapaboran.Sa mga praktikal na sitwasyon, ang kakayahang pamahalaan ang mga high-kasalukuyang naglo-load ay nagbibigay ng TIP2955 isang pag-aari sa pagtaguyod ng katatagan at kahusayan ng circuit.
Ang mga high-fidelity audio system ay madalas na gumagamit ng TIP2955 upang makamit ang pagpapalakas ng signal na may kawastuhan at banayad na pagbaluktot.Ang kasanayan ng transistor sa pamamahala ng malaking antas ng kuryente habang pinapanatili ang kalinawan ng signal na apela sa mga audiophile.Sa panahon ng disenyo ng mga sistema ng speaker, ang pag -optimize ng paggamit ng TIP2955 ay maaaring mapahusay ang kalidad ng tunog, na nagreresulta sa isang walang tahi na pagtatagpo sa pakikinig.
Higit pa sa papel ng pagpapalakas nito, ang TIP2955 ay nag -aambag sa pagpapahusay ng pagiging maaasahan ng system.Ang thermal resilience at sobrang pag -init ng mga proteksyon ay nagpapalawak ng aparato ng aparato, sa gayon ay binabawasan ang pangangailangan para sa madalas na pagpapanatili.Sa malawak na mga aplikasyon, ang mga katangiang ito ay lalo na pinahahalagahan sa mga system na nahaharap sa mga kondisyon ng pagbabago ng kuryente, kung saan ang pagiging maaasahan sa panahon ng stress ay isang pamantayang pag-asa.
Upang lubos na makinabang mula sa mga kakayahan ng TIP2955, ang mga pagsasaalang -alang sa disenyo ay nangangailangan ng malaking pansin.Ang mga pamamaraang ito ay ginagabayan ng mga pagpapabuti ng iterative mula sa mga nakaraang proyekto, kung saan ang pag -navigate ng mga limitasyong elektrikal at pamamahala ng init ay humantong sa mahusay na pag -optimize ng circuit.
At TIP100
At TIP101
At Tip102
At Tip105
At Tip106
At Tip107
At Tip110
At TIP3055

Ang paggamit ng tatlong kahanay na Tip2955 transistors ay nagpapabuti ng output kasalukuyang.Ang sinasadyang pagsasaayos na ito ay nagpapabuti sa parehong kasalukuyang paghawak at pamamahagi ng thermal load, pagpapalawak ng kahusayan ng system at tibay.Ang mga bihasang nasa domain na ito ay madalas na binibigyang diin ang kahalagahan ng wastong paglubog ng init at sapat na puwang sa pagitan ng mga transistor upang mabawasan ang pagkagambala ng thermal at mapalakas ang pangkalahatang pagganap.Ang pagkamit ng isang matatag na output ng boltahe ay nagsasangkot ng pagpapares ng TIP2955 na may isang 7812 boltahe na regulator.Ang 7812 ay nangunguna sa pagpapanatili ng pare -pareho na boltahe sa gitna ng iba't ibang mga sitwasyon sa pag -input, na binabawasan ang mga panganib mula sa mga spike ng boltahe.Ang nasabing pagiging maaasahan ay ginagamit sa pamamahala ng enerhiya sa mga nagbabago na kapaligiran.Ang mga capacitor ay nag -aambag sa isang makinis na output ng circuit sa pamamagitan ng pag -minimize ng boltahe ng ripple at lumilipas na mga tugon, pinapanatili ang isang matatag na supply ng kuryente sa mga aparato.Ipinakilala ng mga fuse ang isang mahalagang layer ng proteksyon laban sa labis na kasalukuyang maaaring magbanta sa mga sangkap ng circuit.Ang pagpili ng tamang rating ng fuse ay nangangailangan ng pag -iisip na pagsusuri, tinitiyak na higit sa maximum na pag -load ng kasalukuyang sapat lamang upang mapangalagaan nang hindi nagiging sanhi ng hindi nararapat na pagkagambala.
|
I -type |
Parameter |
|
Katayuan ng Lifecycle |
Aktibo (huling na -update: 7 buwan na ang nakakaraan) |
|
Bundok |
Sa pamamagitan ng butas |
|
Package / Kaso |
TO-247-3 |
|
Timbang |
9.071847G |
|
Boltahe ng Breakdown ng Kolektor-Emitter |
60V |
|
hfe min |
20 |
|
Packaging |
Tube |
|
Bahagi ng Bahagi |
Aktibo |
|
Bilang ng mga pagtatapos |
3 |
|
Pagtatapos ng terminal |
Lata (sn) |
|
Max Power Dissipation |
90W |
|
Kadalasan |
3MHz |
|
Bilangin ng pin |
3 |
|
Pag -dissipation ng Power |
90W |
|
Oras ng tingga ng pabrika |
8 linggo |
|
Uri ng pag -mount |
Sa pamamagitan ng butas |
|
Bilang ng mga pin |
3 |
|
Ang materyal na elemento ng transistor |
Silikon |
|
Bilang ng mga elemento |
1 |
|
Temperatura ng pagpapatakbo |
150 ° C TJ |
|
Code ng JESD-609 |
E3 |
|
Antas ng Sensitivity ng kahalumigmigan (MSL) |
1 (walang limitasyong) |
|
Code ng ECCN |
EAR99 |
|
Boltahe - Na -rate na DC |
-100v |
|
Kasalukuyang rating |
-15a |
|
BASE PART NUMBER |
TIP2955 |
|
Pagsasaayos ng elemento |
Walang asawa |
|
Application ng Transistor |
Lumilipat |
|
Makakuha ng Produkto ng Bandwidth |
3MHz |
|
Uri ng transistor |
PNP |
|
MAX Kolektor Kasalukuyan |
15a |
|
Kasalukuyang - Kolektor Cutoff (Max) |
700μa |
|
Vce saturation (max) @ ib, ic |
3v @ 3.3a, 10a |
|
Boltahe ng Base ng Kolektor (VCBO) |
100v |
|
Vcesat-max |
3 v |
|
Haba |
15.75mm |
|
Abutin ang SVHC |
Walang SVHC |
|
Katayuan ng ROHS |
Sumunod ang ROHS3 |
|
Uri ng polarity/channel |
PNP |
|
Kolektor ng Emitter Voltage (VCEO) |
60V |
|
DC Kasalukuyang Gain (HFE) (min) @ ic, vce |
20 @ 4A 4V |
|
Code ng Jedec-95 |
TO-247AD |
|
Dalas ng paglipat |
3MHz |
|
Emitter Base Voltage (Vebo) |
7v |
|
Taas |
20.15mm |
|
Lapad |
5.15mm |
|
Radiation Hardening |
Hindi |
|
Libre ang Lead |
Libre ang Lead |

Ang Stmicroelectronics, isang maimpluwensyang nilalang ng mga solusyon sa semiconductor, ay tumatagal sa paggawa ng TIP2955.Sa pamamagitan ng isang kayamanan ng kadalubhasaan sa microelectronics, ang kumpanya ay nagtutulak ng mga pagsulong sa pag-iisip na nag-evolution ng teknolohikal na ebolusyon.Ang kumpanya ay nakatuon sa patuloy na pagpino at pag -update ng kanilang mga kasanayan upang magkahanay sa mga pamantayan sa industriya at paparating na mga uso.Ang pagbabalanse ng masalimuot na dinamika sa pagitan ng pagbabago at pagiging praktiko ay hinihingi ang pag -asa ng mga hilig sa merkado, isang diskarte na nakikilala ang mga nangungunang kumpanya.Sa pag -unlad ng TIP2955, ang Stmicroelectronics ay nag -fuse ng teknikal na may estratehikong pananaw, na gumagawa ng isang produkto na nagbibigay kasiyahan sa mga kontemporaryong hinihingi habang pinapagana ang mga posibilidad sa hinaharap.
MULT DEV ADV Material Notice 8/APR/2019.PDF
Mangyaring magpadala ng isang pagtatanong, tutugon kami kaagad.
Ang TIP2955 at TIP3055 transistors ay lubos na itinuturing sa domain ng electronics.Kilala sa kanilang maayos na disenyo at mababang boltahe ng saturation, karaniwang ginagamit ito sa audio amplification at mga domain ng supply ng kuryente.Ang mga application na ito ay umunlad sa teknolohiya ng TO-247, na kung saan ay higit sa kapansin-pansin na mga katangian ng thermal at mechanical resilience.Ang mga transistor na ito ay madalas na nagsisilbing isang mahusay na pagpipilian sa mga proyekto kung saan hinahangad ang kahusayan ng enerhiya at tibay.Ang katatagan ng mga tip transistors ay madalas na nagbibigay ng isang solidong pundasyon para sa pagkamit ng higit na mahusay na mga katangian ng thermal sa loob ng mga elektronikong pagsasaayos.
Dinisenyo bilang isang pandagdag sa PNP sa pagsasaayos ng SOT-93, ipinagmamalaki ng TIP2955 Transistor ang isang malaking kapasidad ng kuryente na na-rate sa 90 watts sa isang karaniwang temperatura ng kaso na 25 ° C.Ang rating na ito ay nagtatampok ng kasanayan nito sa pagpapanatili ng mga matatag na alon ng kolektor hanggang sa 15 mga amperes, kaya pinahahalagahan sa mga senaryo na humihiling ng parehong katatagan at kakayahang umangkop.Sa TIP2955, ang mga disenyo ay maaaring makamit ang isang balanse sa pagitan ng kapasidad ng kapangyarihan at pamamahala ng thermal, ang mga katangian na madalas na umaasa sa pamamagitan ng mga eksperto na nakikipagtalo sa mga intricacy ng thermal control sa limitadong mga puwang.Ang pinahusay na pagsasama at pag -tune ng pagganap ng mga sangkap na ito ay maaaring magsulong ng kapansin -pansin na pag -unlad sa pagbabago ng kapangyarihan sa pamamahala.
sa 2024/11/10
sa 2024/11/8
sa 8000/04/18 147757
sa 2000/04/18 111936
sa 1600/04/18 111349
sa 0400/04/18 83721
sa 1970/01/1 79508
sa 1970/01/1 66905
sa 1970/01/1 63028
sa 1970/01/1 63012
sa 1970/01/1 54081
sa 1970/01/1 52125