
Ang LM7809 ay isang maaasahang positibong boltahe regulator IC, na kilala sa pagbibigay ng isang matatag na output ng 9V sa iba't ibang mga aplikasyon.Sa pamamagitan ng kakayahang hawakan ang mga alon sa pagitan ng 1A at 1.5A, nakakahanap ito ng malawakang paggamit sa mga patlang tulad ng mga robotics at naka -embed na mga sistema, kung saan ang pare -pareho na supply ng boltahe ay seryoso.Upang makamit ang pinakamainam na pagganap, ang LM7809 ay nangangailangan ng isang boltahe ng input ng hindi bababa sa 11V, na nagpapanatili ng isang minimum na 2V headroom upang maihatid ang regulated output nito.Ang pagdidisenyo ng isang tamang supply ng kuryente na may sapat na reserbang input ay kinakailangan upang matiyak ang kahusayan at maiwasan ang mga pagkagambala sa daloy ng kuryente.
Sa pamamagitan ng suporta para sa mga boltahe ng input na kasing taas ng 35V, ang LM7809 ay nagpapatunay na lubos na umaangkop sa mga kapaligiran kung saan karaniwan ang pagbabagu -bago ng boltahe, tulad ng mga automotikong elektroniko at mga instrumento sa larangan.Ang kakayahang pangasiwaan ang mga surge ng boltahe ay nagpapaganda ng pagiging maaasahan, na ginagawa itong isang ginustong pagpipilian para sa pamamahala mo ng mga system na may mga variable na kondisyon ng pag -input.Gayunpaman, ginagamit ang pamamahala ng init ng init, dahil ang pagkakaiba -iba ng boltahe sa pagitan ng input at output ay bumubuo ng init.Ang wastong disenyo ng thermal, kabilang ang paggamit ng naaangkop na heatsinks, ay kinakailangan upang matiyak ang mahusay na operasyon at palawakin ang habang buhay ng aparato.
Ang mga built-in na tampok tulad ng thermal shutdown at proteksyon ng short-circuit ay higit na mapahusay ang pagiging maaasahan ng LM7809, pag-iingat ito sa ilalim ng masamang kondisyon.Ang mga proteksyon na ito ay ginagawang mahalaga ang regulator sa parehong mga komersyal at pang-edukasyon na konteksto, na nag-aalok ng hindi lamang maaasahang pagganap kundi pati na rin ang mga pagkakataon para sa pag-aaral ng hands-on tungkol sa kaligtasan ng circuit.Ang mga naka -embed na proteksyon na ito ay nag -aambag sa pagiging praktiko nito sa mga aplikasyon na humihiling ng mataas na pagiging maaasahan at mababang pagpapanatili, na pinapatibay ang papel nito bilang isang maraming nalalaman boltahe regulator IC.

|
Pin Hindi. |
Pangalan ng pin |
Paglalarawan |
|
1 |
Input (V+) |
Hindi regular na boltahe ng input |
|
2 |
Lupa |
Konektado sa lupa |
|
3 |
Output (VO) |
Ang mga output ay kinokontrol +9V |
|
Tampok |
Mga detalye |
|
Kasalukuyang saklaw ng output |
1a hanggang 1.5a |
|
Cost-pagiging epektibo |
Oo |
|
Ang pagiging angkop ng application |
Komersyal na aplikasyon |
|
Boltahe ng output |
Matatag at pare -pareho ang output ng 9V |
|
Pinakamataas na boltahe ng pag -input |
35v dc |
|
Standby kasalukuyang pagkonsumo |
Labis na mababa, 8ma lang |
|
Minimum na kinakailangang boltahe ng input |
11v |
|
Pinakamataas na pinapayagan na boltahe ng input |
35v |
|
Ratio ng pagtanggi ng power supply (PSRR) |
55 dB |
|
Pagpapahintulot ng boltahe ng output |
9v ± 4% |
|
Drop-out boltahe (vi-vo) |
2.0V |
|
Uri ng output |
Naayos |
|
Thermal at kasalukuyang proteksyon |
Panloob na thermal overload at maikling circuit kasalukuyang
Nililimitahan |
|
Maximum na temperatura ng kantong |
125 ° C. |
|
Mga uri ng pakete |
TO-220, TO-3, KTE |
|
I -type |
Parameter |
|
Nominal na supply ng kasalukuyang |
5 Ma |
|
Quiescent kasalukuyang |
8 Ma |
|
Pagsasaayos ng output |
Positibo |
|
Boltahe dropout (max) |
2V @ 1A typ |
|
Posisyon ng terminal |
Walang asawa |
|
Mga tampok ng proteksyon |
Sa paglipas ng temperatura, maikling circuit |
|
Dropout boltahe |
2v |
|
Dropout boltahe1-nom |
2v |
|
Ang kawastuhan ng boltahe ng output |
4% |

Ang kilalang 7809 Ang regulator ng boltahe ay sikat hindi lamang para sa katumpakan nito sa output kundi pati na rin para sa natatanging kakayahan upang maihatid ang isang labis na makinis na supply ng boltahe, na madalas na lumampas sa maraming mga convert ng DC-DC sa paggalang na ito.Gayunpaman, ang pagbuo ng mas maraming init ay isang kapansin -pansin na byproduct ng katangiang ito.Ang superyor na kinis na ito ay higit sa lahat dahil sa pagkakaroon ng isang serye pass transistor sa output, na gumaganap ng isang pangunahing papel sa paghadlang sa labis na boltahe.
Upang makilala ang dami ng lakas na natanggal, maaaring ilapat ng isa ang pormula: (input boltahe - boltahe ng output) x output kasalukuyang.Ipagpalagay na ang boltahe ng input ay 12V na may kaukulang output kasalukuyang ng 1A.Sa sitwasyong ito, ang pagwawaldas ng kuryente ay kinakalkula na 3 watts, na nagmumungkahi na ang epektibong mga diskarte sa pamamahala ng thermal, tulad ng mga heatsinks, ay maipapayo.
Ang pangangailangan para sa pamamahala ng init ay maliwanag dahil ang pagwawaldas ng regulator ay higit sa 1.25 watts - ang threshold na lampas kung saan kinakailangan ang karagdagang paglamig.Sa disenyo ng circuit, ang pagtiyak ng sapat na pagwawaldas ng init ay isang tunay na gawain na kapaki -pakinabang para sa pagpapanatili ng parehong pagganap at pagiging maaasahan ng system.
Ang 7809-voltage regulator ay gumaganap ng isang tunay na papel sa pagbibigay ng isang maaasahang 9V power output sa mga senaryo kung saan maaaring mag-iba ang kapaligiran ng pag-input.Ito ay mahusay na humahawak ng mga boltahe ng pag -input sa pagitan ng 11V at 35V, tinitiyak ang isang matatag na output kasalukuyang na karaniwang lumampas sa 1A, na may mga kakayahan sa rurok na umaabot hanggang sa 2.2a.Nagbibigay ito ng isang angkop na pagpipilian para sa iyo na pinahahalagahan ang pagiging maaasahan.
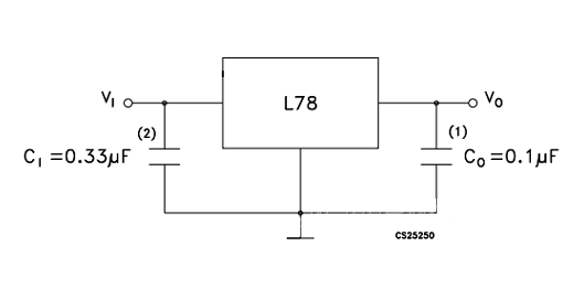
Kapag ang mapagkukunan ng kuryente ay matatagpuan higit sa 10 pulgada ang layo mula sa site ng pag -install, ang pagsasama ng isang input capacitor na 0.33uf o mas malaki ay maipapayo.Ang pagpili ng mga capacitor na may mababang katumbas na paglaban sa serye (ESR) ay makakatulong na mabawasan ang pagkawala ng enerhiya.Ang mga pagsasaayos na ito ay gumaganap ng isang kilalang papel sa pagpapalakas ng pagganap ng regulator ng boltahe, karamihan sa pagpapanatili ng katatagan sa gitna ng iba't ibang mga kondisyon.
7809 9V Regulator na may mga bypass caps

Ang pagdaragdag ng isang opsyonal na 0.1UF output capacitor ay maaaring mapahusay ang lumilipas na tugon ng 7809 nang malaki.Ito ay humahantong sa kapansin -pansin na mga pagpapabuti kapag nahaharap sa pagbabagu -bago sa pag -load o boltahe ng pag -input, sa gayon ay nadaragdagan ang pangkalahatang pagiging matatag ng system.Bagaman karaniwang isinasagawa, nakakaalam na galugarin ang mga pasadyang pagsasaayos na naaayon sa mga tiyak na kinakailangan sa kapaligiran.

At LM7806
At LM7824
At LM7815
At LM7812
At LM317
At LM7905
At LM7912
Ang LM7809 ay malawak na nagtatrabaho upang maihatid ang isang pare -pareho na 9V output, na kung saan ay kadalasang angkop para sa mga microcontroller at sensor.Ang kakayahan ng aparatong ito upang mapanatili ang pagganap sa kabila ng pagbabagu -bago ng mga boltahe ng input ay sumusuporta sa integridad ng sensitibong data ng sensor at mga aktibidad ng microcontroller, na sa huli ay pinapahusay ang tibay ng mga elektronikong sistema.Ang pagtiyak ng mahusay na regulasyon ng boltahe ay madalas na hinahabol sa mga praktikal na aplikasyon upang maiwasan ang mga isyu tulad ng katiwalian ng data o pagkawala sa loob ng mga microcontroller.
Kung kinakailangan ang isang tumpak na pagbagsak mula sa mas mataas na boltahe hanggang 9V, ang LM7809 ay higit na dahil sa kasanayan nito sa pag -minimize ng hindi pagkakapare -pareho ng boltahe.Ang tampok na ito ay lalong mahalaga sa mga senaryo kung saan ang mga aparato, tulad ng sopistikadong mga sistema ng automation ng bahay o portable electronics, ay mahina laban sa mga banta sa overvoltage.Ang pagsasama ng LM7809 ay binabawasan ang posibilidad ng pinsala na dulot ng mga pagkakaiba -iba ng boltahe ng input.
Sa loob ng mga sistema ng supply ng kuryente, ang LM7809 ay kinikilala para sa paghahatid ng isang pare -pareho na output, kapaki -pakinabang para sa mga regular na operasyon.Sa parehong mga setting ng pang -industriya at elektronikong consumer, pinipigilan nito ang mga pagkagambala sa kapangyarihan na maaaring magresulta sa mga mamahaling downtimes o maling pamamahala ng data.Ang built-in na thermal protection nito ay nagdaragdag ng isang layer ng resilience, na nagpapahintulot sa LM7809 na hawakan ang mga lumilipas na kondisyon na karaniwang nakatagpo sa mga kapaligiran.
Kapag ginamit sa mga pag -setup ng driver ng motor, ang LM7809 ay nagbibigay ng katatagan na kinakailangan para sa mga motor na gumanap nang palagi.Ang katangiang ito ay pangunahing para sa mga aplikasyon tulad ng mga robotics o katumpakan ng paggawa, kung saan ang mga motor ay dapat gumana sa mga itinalagang bilis o torque.Ang kakayahan ng regulator upang makinis ang pagbabagu -bago ng boltahe ay nagsisiguro na ang kahusayan sa pagpapatakbo ay pinananatili.
Sa pagsingil ng baterya at solar system, ang LM7809 ay gumaganap ng isang pangunahing papel sa pagbibigay ng isang palaging singilin na boltahe, sa gayon ay nagpapalawak ng buhay at kahusayan ng baterya.Karamihan ito ay kapaki -pakinabang sa mga solar system na may variable na mga boltahe ng input sa buong araw.Ang pagsasama ng LM7809 ay sumusuporta sa isang na -optimize na ikot ng singilin sa ilalim ng iba't ibang mga kondisyon ng pag -input.
Ang pag -andar bilang isang pangunahing mapagkukunan ng kuryente para sa mga microcontroller, ang LM7809 ay nagpapagaan ng mga hamon na may kaugnayan sa pagiging sensitibo at pagkakapare -pareho ng kapangyarihan.Ang pagbibigay ng isang matatag na supply ng kuryente ay ginagamit sa mga kumplikadong pag-setup kung saan ang tumpak na katatagan ng kuryente ay nagsisiguro ng walang tahi na operasyon ng mga gawain na hinihimok ng microprocessor.
Ang LM7809 ay mahalaga bilang isang bahagi ng mga nababagay na mga sistema ng regulator, kung saan kinakailangan ang iba't ibang mga antas ng boltahe para sa mga natatanging yugto.Tumutulong din ito sa mga sitwasyon kung saan kinakailangan ang kasalukuyang mga limitasyon, na pinoprotektahan ang mga magkakaugnay na aparato mula sa hindi inaasahang mga surge.Sa pamamagitan ng pagsasama ng LM7809, maaari mong mai -secure hindi lamang ang boltahe na patuloy ngunit epektibo ang kasalukuyang pamamahala, isang pagsasaalang -alang na maaaring wala sa mas malawak na disenyo ng system.
Sa dalawahang mga sistema ng supply na nangangailangan ng pagtatanggol ng polarity ng output, ang LM7809 ay nag -aalok ng proteksyon laban sa hindi tamang mga koneksyon.Ang aspetong ito ay kinakailangan sa masalimuot na mga elektronikong disenyo kung saan ang reverse polarity ay maaaring humantong sa pagkasira ng sangkap.Ang kakayahan ng LM7809 upang matiis ang mga kundisyon nang hindi nawawala ang pagganap ay nagpapakilala ng mga pangunahing nababanat, na nag -aambag sa walang tigil na operasyon ng system.




Ang LM7809 Voltage Regulator ay isang mapagkakatiwalaang solusyon para sa pagpapanatili ng isang matatag na output ng 9V, na nagpapakita ng kapansin -pansin na pagganap sa magkakaibang mga aplikasyon ng elektronik.Ang prangka nitong disenyo, na sinamahan ng matatag na mga tampok tulad ng proteksyon ng thermal at kaligtasan ng maikling circuit, ay nagsisiguro ng pagiging maaasahan sa parehong prototyping at tapos na mga system.Sa pamamagitan ng pagtugon sa mga hamon tulad ng pagbabagu -bago ng boltahe at pagwawaldas ng init, ang LM7809 ay nagpapabuti sa kahusayan at kahabaan ng aparato.Habang nagbabago ang teknolohiya, ang LM7809 ay patuloy na naglalaro ng isang dynamic na papel sa paghahatid ng matatag na kapangyarihan, pag -aalaga ng pagbabago, at pagtiyak ng tibay ng mga elektronikong disenyo para sa iyo.
Mangyaring magpadala ng isang pagtatanong, tutugon kami kaagad.
Ang LM7809 ay gumaganap ng isang kapansin -pansin na papel sa pamamagitan ng paghahatid ng isang maaasahang 9V positibong output, pagtugon sa mga naisalokal na mga hamon sa regulasyon ng boltahe sa card upang mapagaan ang pagiging kumplikado ng pamamahagi.Sa matatag na suporta nito, pinapahusay nito ang pagiging maaasahan ng supply ng kuryente at nagpapagaan ng mga potensyal na kaguluhan sa mga elektronikong circuit, na nagdadala ng isang seguridad sa mga integrator ng system.
Nagbibigay ng isang matatag na 9V output, ang LM7809 ay maaaring magbigay ng hanggang sa 1A ng kasalukuyang at tinatanggap ang isang spectrum ng boltahe ng input mula 11 hanggang 35V.Ang kakayahang umangkop na ito ay nagtataguyod ng kakayahang magamit nito sa pag -adapt sa iba't ibang mga sitwasyon sa pamamahala ng kuryente, na ginagawa itong isang pag -aari para sa mga naglalayong magkasundo ang magkakaibang mga pangangailangan sa elektronik.
Bilang isang three-terminal na aparato, ang LM7809 ay nangangailangan ng isang boltahe ng pag-input ng DC sa pagitan ng 12 at 25 V. Ang pagsasama ng isang input filter capacitor ay maipapayo, kasama ang isang heat sink upang harapin ang mga hamon sa pamamahala ng thermal, lalo na sa ilalim ng mga kondisyon ng high-load.Ang praktikal na diskarte na ito ay nag-aambag sa pangmatagalan at mahusay na pagganap ng circuitry.
Ang isang malinis at matatag na pag -input ng DC sa regulator ng boltahe ay kinakailangan para sa pagkamit ng walang tahi na regulasyon at patuloy na pagganap ng output.Ang maingat na pagsasaalang -alang ng kalidad ng mga koneksyon at ang madiskarteng paglalagay ng mga sangkap ay maaaring maiwasan ang mga pagkagambala, sa gayon pinapanatili ang integridad ng elektronikong pagsasaayos.
Ang pagtatayo ng isang pangunahing disenyo ay madalas na nagsasangkot ng pagpapares ng isang 7805 linear boltahe regulator na may mga capacitor upang mapagtanto ang nais na boltahe ng boltahe.Ang mga prangka na pag -setup na ito ay maaaring maging mga stepping na bato sa pagbuo ng mas masalimuot na mga sistema, na nagbubunyag ng mga pananaw sa epektibong pamamahala ng kuryente sa loob ng mga elektronikong aparato.
sa 2024/11/28
sa 2024/11/28
sa 8000/04/18 147757
sa 2000/04/18 111935
sa 1600/04/18 111349
sa 0400/04/18 83719
sa 1970/01/1 79508
sa 1970/01/1 66904
sa 1970/01/1 63028
sa 1970/01/1 63012
sa 1970/01/1 54081
sa 1970/01/1 52122