
Sa loob ng pangingibabaw ng mga kumplikadong naka -program na aparato ng lohika (CPLDS), natuklasan ng isang tao ang isang sopistikadong tapestry ng mga programmable logic macro cells, na magkasama sa pamamagitan ng isang nangingibabaw na magkakaugnay na matrix.Ang mga macro cell (MC) at input/output (I/O) na mga linya ng yunit ay nagbibigay -daan sa iyo upang walang humpay na disenyo ng mga circuit, pag -configure ng mga istruktura para sa mga natatanging pag -andar.Hindi tulad ng mga aparato na nalilito sa pamamagitan ng kanilang masalimuot na magkakaugnay na tiyempo, ang mga CPLD ay gumagamit ng hindi matitinag na mga wire ng metal.Ang katangian na ito ay nagbibigay sa kanila ng isang pare -pareho at mahuhulaan na pag -uugali ng orasan, na ginagawang mas maaasahan at tumpak ang mga hula sa tiyempo.
Ang 1970s ay ipinahayag ang pagdating ng mga programmable logic device (PLDS), na nagtataguyod ng isang paglipat patungo sa mga na -program na mga yunit ng macro.Ang shift na ito ay nagpakilala ng maraming kakayahang umangkop sa disenyo, na nagtatakda ng mga ito mula sa mga static na digital circuit, bagaman ang kanilang utility ay una nang napilitan sa mas simpleng mga circuit.Ang pagdating ng mga CPLD sa kalagitnaan ng 1980s ay nag-rebolusyon sa landscape na ito, na naglalagay ng daan para sa mga kumplikadong disenyo ng circuit.Simula noon, pinagtagpi nila ang kanilang sarili sa tela ng mga industriya tulad ng networking, automotive electronics, CNC machining, at aerospace system.Maaari mong maalala ang tungkol sa paraan ng mga pinasimple na proseso ng CPLDS na minsan ay hinihiling ng masalimuot na manu -manong paggawa, na minarkahan ang isang kapansin -pansin na paglukso sa kahusayan.
Ang mga CPLD ay nakikilala ang kanilang mga sarili sa pamamagitan ng kanilang madaling iakma na programming, malawak na pagsasama, mga kakayahan sa pag-unlad ng mabilis, at malawak na kakayahang magamit, kasama ang mga gastos sa ekonomikong paggawa.Nag -apela sila sa mga may kaunting karanasan sa hardware, na nagsisilbing maaasahan at ligtas na mga produkto na hindi nangangailangan ng kumpletong pagsubok.Bilang isang testamento sa kanilang katapangan sa mga malalaking disenyo ng circuit, ang mga CPLD ay gumaganap ng isang pangunahing papel sa pag-unlad ng prototype at naglilingkod ay tumatakbo sa ibaba ng 10,000 mga yunit, na naglalagay ng isang kapaki-pakinabang na kakayahan para sa iyo.Ang adeptness na kung saan ang mga CPLD ay nag -aayos sa umuusbong na mga hinihingi ng proyekto ay madalas na kumikita sa kanila ng pagpapahalaga, na binibigyang diin ang kanilang aktwal na kakayahang umangkop sa mga dynamic na kapaligiran.
Ang mga integrated circuit na ito ay nagbibigay -daan sa iyo upang ipaliwanag ang mga pag -andar ng lohika na naaayon sa kanilang mga pangangailangan gamit ang parehong mga eskematiko at paglalarawan ng hardware sa mga platform ng pag -unlad.Halimbawa, sa pagdidisenyo ng isang makina ng pagsagot, eskematiko, at mga paglalarawan ng hardware ay inihanda at pinagsama sa isang computer.Ang paggamit ng isang pag-download ng cable, ang code ay inilipat sa CPLD para sa programming ng in-system, na binubuo ng pagsubok, pag-aayos, at pagpapahusay ng mga disenyo.Ang matagumpay na likhang disenyo ay pagkatapos ay ginawa ng masa sa pamamagitan ng pagtitiklop ng mga CPLD chips.Sa mga proyekto tulad ng mga light light system, ang pag -uulit ng proseso ng disenyo ay kinakailangan, katulad ng muling pagtatayo ng isang bahay upang maibalik ang pagiging bago nito.Ang paulit -ulit na pamamaraan na ito ay madalas na naglalagay ng batayan para sa mastering, pagpapalakas ng parehong mga kasanayan at kumpiyansa.
Sa buong mga taon, ang mga kumpanya tulad ng Altera, Lattice, at Xilinx ay nagbukas ng mga kilalang linya ng CPLDS.Kapansin -pansin na mga halimbawa kasama ang Altera's EPM7128S, Lattice's LC4128V, at Xilinx's XC95108 .Ang mga modelong ito ay natagpuan ang mga kilalang papel sa buong magkakaibang pandaigdigang aplikasyon.Ang mga may pribilehiyo na magtrabaho kasama ang mga natatanging produktong ito ay madalas na binabanggit sa banayad ngunit malakas na pagkakaiba -iba na nag -optimize ng mga partikular na pag -andar.Ito ay sumasalamin sa isang mahusay na proseso ng pagpili na naiimpluwensyahan ng mga tiyak na hinihingi ng proyekto, kung saan ang bawat variant ay humahawak ng natatanging apela.
|
Aspeto |
Cpld |
FPGA |
|
Ang pagbuo ng lohikal na pag -uugali |
Bumuo ng lohikal na pag -uugali gamit ang istraktura ng term ng produkto.
Mga halimbawa: serye ng lattice isplsi, serye ng Xilinx XC9500, Altera MAX7000s
serye, serye ng lattice mach |
Bumuo ng lohikal na pag -uugali gamit ang isang paraan ng lookup ng mesa.
Mga halimbawa: serye ng Xilinx Spartan, Altera Flex10k, serye ng ACEX1K |
|
Pagiging angkop |
Angkop para sa mga algorithm at kombinasyon ng lohika, gumagana
Mas mahusay na may limitadong mga nag -trigger at mayaman na mga termino ng produkto |
Angkop para sa sunud -sunod na lohika, mas mahusay na gumagana sa
Mga istruktura na mayaman sa mga nag -trigger |
|
Pagkaantala sa tiyempo |
Ang patuloy na istraktura ng mga kable ay nagbibigay ng uniporme at
mahuhulaan na pagkaantala sa tiyempo |
Ang naka -segment na istraktura ng mga kable ay humahantong sa hindi mahuhulaan na tiyempo
pagkaantala |
|
Kakayahang umangkop sa programming |
Ang mga nakapirming panloob na circuit ay binago para sa programming.
Ginagamit ang logic block-level programming |
Ang panloob na mga kable ay binago para sa programming.Lohika
Pinapayagan ng programming-level programming ang higit na kakayahang umangkop |
|
Pagsasama |
Mas mababang pagsasama kumpara sa FPGA |
Mas mataas na pagsasama sa mas kumplikadong istraktura ng mga kable at
pagpapatupad ng lohika |
|
Kadalian ng paggamit |
Mas madaling gamitin sa programming sa pamamagitan ng e2prom o fastflash.
Walang kinakailangang panlabas na memorya ng memorya |
Nangangailangan ng panlabas na memorya upang mag -imbak ng programming
impormasyon, na humahantong sa mas kumplikadong paggamit |
|
Bilis at mahuhulaan |
Mas mabilis na bilis at mas mahusay na mahuhulaan sa tiyempo dahil sa
Lumped interconnection sa pagitan ng mga bloke ng lohika |
Mas mabagal na bilis at hindi gaanong mahuhulaan na tiyempo dahil sa
Ang programming-level programming at ipinamamahagi na pagkakaugnay |
|
Teknolohiya ng Programming |
Gumagamit ng E2PROM o flash memory programming.Data ng Programming
ay mananatili kapag ang system ay pinapagana.Sinusuportahan ang programming sa a
programmer o in-system |
Batay sa programming ng SRAM.Nawala ang data ng programming kung kailan
Ang system ay pinapagana at dapat na i -reload.Sinusuportahan ang pabago -bago
Pag -configure |
|
Kumpidensyal |
Nag -aalok ng mas mahusay na pagiging kompidensiyal |
Nagbibigay ng mas mababang pagiging kompidensiyal |
|
Pagkonsumo ng kuryente |
Karaniwan ang mas mataas na pagkonsumo ng kuryente, lalo na sa
mas mataas na pagsasama |
Mas mababang pagkonsumo ng kuryente kumpara sa CPLD |
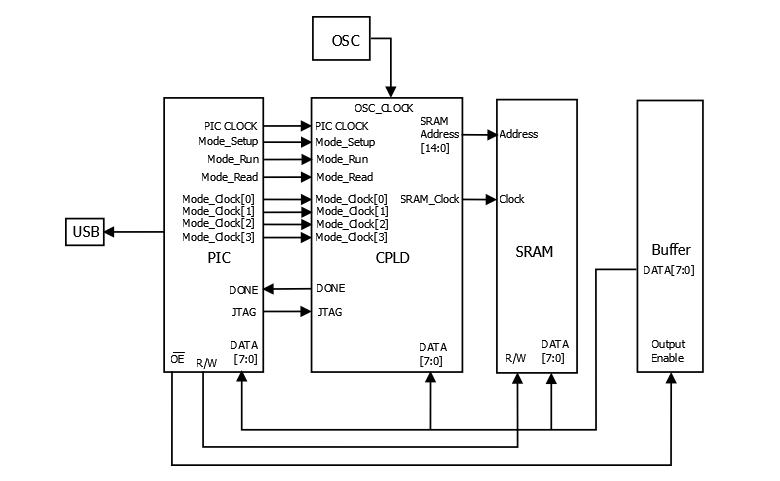
Ang pagsusuri kung paano ang mga kumplikadong programmable lohika na aparato (CPLDS) ay na -program ay isang pundasyon sa paggawa ng maraming nalalaman na mga solusyon sa hardware.Ang mga makasaysayang pamamaraan para sa mga programming CPLD ay umasa sa mga diagram ng hagdan o mga wika sa paglalarawan ng hardware (HDL), kasama ang Verilog HDL at VHDL na pangunahing mga pagpipilian.Ang napiling wika ay maaaring hubugin ang parehong diskarte sa disenyo at ang kahusayan sa pagpapatakbo ng mga pagpapatupad.
At Verilog Hdl: Ang Verilog HDL ay minamahal para sa simpleng syntax at matatag na kakayahan ng simulation, na sumasalamin sa mga pamamaraan na ginamit sa digital na disenyo ng lohika.Ang pagsasama nito sa mga tool na Electronic Design Automation (EDA) ay nagbibigay -daan sa iyo upang walang putol na magsagawa ng synthesis at kunwa.Ang C-tulad ng syntax ng verilog ay na-obserbahan upang ibababa ang hadlang sa pagpasok para sa mga may mga background na programming, na nagmadali sa paglalakbay mula sa disenyo hanggang sa paglawak sa buong malawak na hanay ng mga sektor ng industriya.
At Vhdl: Ang VHDL ay nagbibigay ng isang mas detalyadong at nagpapahayag na pagpipilian para sa HDL programming.Ito ay madalas na pagpipilian para sa mga proyekto na humihiling ng masusing dokumentasyon at mahigpit na pag-check-type, mga katangian na pinahahalagahan sa industriya ng aerospace at pagtatanggol.Maaari mong tandaan na sa kabila ng potensyal na pagiging kumplikado ng VHDL sa mas maliit na mga proyekto, ang disiplina na istraktura nito ay sumusuporta sa paglikha ng natatanging maaasahang disenyo, isang pangangailangan sa mga kapaligiran kung saan nangingibabaw ang kaligtasan.
Mangyaring magpadala ng isang pagtatanong, tutugon kami kaagad.
sa 2024/12/29
sa 2024/12/29
sa 8000/04/18 147780
sa 2000/04/18 112042
sa 1600/04/18 111352
sa 0400/04/18 83803
sa 1970/01/1 79605
sa 1970/01/1 66983
sa 1970/01/1 63113
sa 1970/01/1 63048
sa 1970/01/1 54097
sa 1970/01/1 52199